涡阳县人力资源和社会保障局
当前位置: 网站首页 > 政府信息公开 > 涡阳县人社局 > 权责清单和动态调整情况
索引号: 11341621003176319X/202401-00072 组配分类: 权责清单和动态调整情况
发布机构: 涡阳县人力资源和社会保障局 主题分类: 劳动、人事、监察 / 公民 / 通报
名称: 涡阳县人力资源和社会保障局行政权力运行流程图(2023年版) 文号:
发文日期: 2024-01-29 发布日期: 2024-01-29
索引号: 11341621003176319X/202401-00072
组配分类: 权责清单和动态调整情况
发布机构: 涡阳县人力资源和社会保障局
主题分类: 劳动、人事、监察 / 公民 / 通报
名称: 涡阳县人力资源和社会保障局行政权力运行流程图(2023年版)
文号:
发文日期: 2024-01-29
发布日期: 2024-01-29
涡阳县人力资源和社会保障局行政权力运行流程图(2023年版)
发布时间:2024-01-29 09:33 信息来源:涡阳县人力资源和社会保障局 浏览次数: 字体:[ ]

一、行政许可类

职业培训学校筹设审批流程图


承办单位:就业股
电话:0558-7233703

职业培训学校办学许可流程图

承办单位:就业股
电话:0558-7233703


人力资源服务许可流程图


承办单位:政策法规股

电话:0558-7233755


劳务派遣经营许可流程图

承办单位:政策法规股

电话:0558-7233755


企业实行不定时工作制和综合计算工时工作制审批流程图

承办单位:政策法规股

电话:0558-7233755

二、行政确认类

社会保险登记流程图


承办单位:涡阳县社保中心
电话:0558-7212634


企业职工基本养老保险缴费基数和待遇核定流程图




承办单位:涡阳县社保中心
电话:0558-7212634


工伤认定申请流程图


承办单位:工伤保险股
电话:0558-7233763

三、行政处罚类(适用50项处罚类)



承办机构:涡阳县劳动保障监察综合执法大队

联系电话:0558-7224062

四、行政强制类

申请法院强制执行被拖欠的农民工工资的流程图

承办机构:涡阳县劳动保障监察综合执法大队

联系电话:0558-7224062


封存可能被转移、隐匿或者灭失的资料的流程图


承办机构:涡阳县劳动保障监察综合执法大队

联系电话:0558-7224062


五、其他权利类

职称申报评审及证书管理流程图



承办单位:事业股
电话:0558-7217775


专业技术人员继续教育高研班审核流程图

承办单位:事业股
电话:0558-7217775


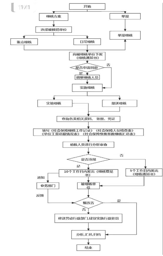
社会保险稽核流程图


承办单位:涡阳县社保中心
电话:0558-7212634


集体合同审查流程图



承办单位:政策法规股
电话:0558-7223755